
想象一下:腿式机器人在崎岖山路、坑洼废墟中灵活穿梭,不打滑、不倾倒,甚至能像人类一样轻松适配高低起伏的路面——这一切,都离不开它“脚掌”的核心升级!
今天要拆解的这项技术,就精准解决了腿式机器人的“地形适配痛点”:通过优化机器人地面接触组件(也就是我们说的“脚掌”),让机器人的腿部在穿越复杂地形时,能灵活实现外展、内收动作,滚转运动范围大幅提升,稳定性直接拉满!
先抛痛点:
腿式机器人的“绊脚石”,
竟是“脚掌”不够灵活
一直以来,腿式机器人想要走进真实场景(比如户外救援、野外勘探),都被一个问题困住——地形适配能力不足。
自然界的动物之所以能在复杂路面上健步如飞,靠的是关节、肌腱的柔顺性,再加上肢体的俯仰、滚转等灵活运动,能瞬时适应地面变化。但机器人不一样,它的“腿”和“脚掌”既要够坚固(承受自身重量),又要够灵活(适配不平整路面),这两者很难平衡。
目前行业内,虽然已经能解决机器人“脚掌”落地冲击的问题,但在适配非均匀地形时,还是有明显短板:机器人迈步的运动范围有限,遇到坑洼、斜坡等复杂路面,预设的步态很容易紊乱,甚至直接倾倒。
而问题的核心,就出在机器人的“脚掌”——也就是地面接触组件上。想要让机器人稳走复杂路面,关键就是让它的“脚掌”能灵活滚转,适配腿部的外展、内收动作,这也是行业内长期未解决的技术难点。
好在,这项最新技术终于给出了破局方案!
这项技术的核心,没有复杂的冗余设计,就是对机器人“脚掌”(地面接触组件)进行了精准优化,不用改动机器人腿部整体结构,就能实现稳定性的跨越式提升。先看最直观的升级优势:
滚转范围翻倍:优化后的地面接触组件,在冠状面的滚转运动范围可达约55°(优选-35°/+15°),外展方向的滚转范围比内收方向更大,灵活度直接拉满;
适配更灵活:能完美配合腿部的外展、内收动作,无论是斜坡、坑洼还是崎岖山路,“脚掌”都能快速调整角度,紧紧贴合地面;
稳如平地:兼顾刚性与柔顺性,既能承受机器人自身重量,又能缓冲落地冲击、传递地面反作用力,静态、动态稳定性双提升。
很多人觉得机器人技术晦涩难懂,其实这项“脚掌”优化技术,核心逻辑很简单,用通俗的话就能讲明白,结合附图更直观(附图说明见后文):
1. 整体结构:机器人的“腿+脚掌”基础构型
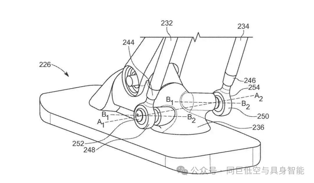
这款腿式机器人拥有一个本体,延伸出至少两条腿,每条腿由多个可转动连接的连杆组成(类似人类的大腿、小腿),分为近端连杆(靠近本体)和远端连杆(靠近脚掌),“脚掌”(地面接触组件)就连接在远端连杆的末端,可灵活转动。
2. 核心升级:“脚掌”的3个关键设计(重点)
真正的黑科技,全藏在“脚掌”(地面接触组件)的细节里,这也是区别于传统机器人的核心所在:
✅ 构型优化:“脚掌”由第一元件(直接接触地面)和一对连接杆组成,相当于给机器人装了“灵活的脚趾关节”,打破了传统“脚掌”的刚性限制;
✅ 角度连接件的巧思:连接杆的末端(杆端)通过角度连接件,可转动连接到第一元件上——这个连接件的中心轴线,与杆端中心定义的水平轴线,在冠状面的夹角控制在5°至45°(优选10°),这是扩大滚转范围的关键;
✅ 柔性提升:杆端优选球面杆端,可相对于角度连接件的中心轴线旋转约50°,能实现多方向自对准运动,就像人类的脚掌能轻微扭转,适配不同地面角度。
3. 工作逻辑:为什么这样设计,就能适配复杂地形?
当机器人行走在复杂路面时,地面接触组件通过连接杆和角度连接件的配合,能灵活扩大滚转运动范围——腿部外展时,“脚掌”可向外滚转;腿部内收时,“脚掌”可向内滚转,始终紧紧贴合地面,避免打滑、倾倒。
简单说:传统机器人的“脚掌”是“硬邦邦”的,遇到不平路面只能“硬踩”;而这款机器人的“脚掌”是“软乎乎+灵活型”的,能跟着地面起伏“自适应调整”,稳如平地也就不足为奇了。
为了更清晰理解这项技术,附上5张核心附图说明(原文配套附图,辅助看懂构型差异):
技术总结:
不止是“脚掌”升级,
更是腿式机器人的场景突破
其实这项技术的核心,就是“抓准痛点、精准升级”——没有复杂的结构改动,只优化了机器人“脚掌”的构型,就解决了腿式机器人地形适配的核心难题。
它的突破意义在于:让腿式机器人摆脱了“只能在平坦路面行走”的局限,朝着更真实的应用场景迈进了一大步——未来,无论是户外救援、野外勘探,还是工业巡检,这款拥有“灵活脚掌”的腿式机器人,都能发挥更大作用。
最后再提醒:本文为技术翻译稿供参考,如需查看英文原版,可在文末查看;如需更多相关技术资料,可加入知识星球获取(方式见文末)。
后续我们还会拆解更多机器人核心技术,聚焦腿式机器人、人形机器人的技术突破,助力大家快速掌握行业前沿干货,欢迎持续关注!